不同結構的電子拉力試驗機傳動原理分析
來源:天氏庫力 發布日期
2019-09-16 瀏覽:
電子拉力試驗機結構比較多,常見的有單柱和雙柱結構,單柱結構基本都一樣,采用雙立柱,單絲桿的單試驗空間結構。而雙柱拉力試驗機結構基本都是雙絲桿四立柱的結構,試驗空間上,雙柱試驗機有單空間結構,差荷雙空間結構、等荷雙空間結構和外附傳感器三空間結構等四種結構,本文天氏庫力小編來為大家介紹一下他們各自的傳動原理。
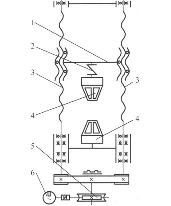
1、單空間結構傳動原理
圖1為單空間(兩夾具4之間)結構,其工作原理為:驅動系統6,通過傳動系統5帶動滾珠絲杠3,從而驅動移動橫梁l實現加載,被測試件夾在夾具4上,被測試件的負荷由傳感器2測量。

圖1:單空間結構傳動原理
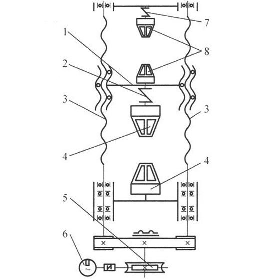
2、差荷雙空間結構傳動原理
圖2為差荷雙空間(夾具4之間為大負荷工作空間,夾具8之間為小負荷工作空間)結構,其大負荷工作空間的工作原理同圖一結構,小負荷工作空間的驅動、傳動一直到移動橫梁l的動作同下圖,被測試件夾在夾具8上,被測試件的負荷由小負荷傳感器7測量。

圖2:差荷雙空間結構傳動原理
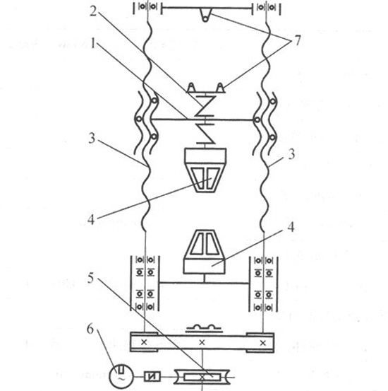
3、等荷雙空間結構傳動原理
圖3為等荷雙空間(夾具4之間為拉伸工作空間,夾具7之間為壓縮、彎曲工作空間)結構,其工作原理同圖一結構,夾具4之間用來做拉伸試驗,夾具7之間用來做壓縮、彎曲試驗。上下空間共用負荷傳感器2進行測量。

圖3:等荷雙空間結構傳動原理
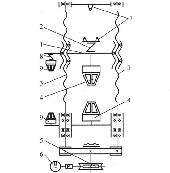
4、外附傳感器三空間結構傳動原理
圖4為外附傳感器三空間(夾具4之間為大負荷拉伸工作空間,夾具7之間為大負荷壓縮、彎曲工作空間,夾具4之間為小負荷拉伸工作空間)結構,外附小負荷傳感器8主機結構通過對移動橫梁1的延伸,利用大負荷傳感器2試驗空間的驅動系統6,通過傳動系統5帶動滾珠絲杠3,從而驅動移動橫梁實現加載,進行不同負荷測量范圍的力學性能試驗。
圖4:外附傳感器三空間結構
推薦閱讀
【本文標簽】:電子拉力試驗機傳動原理
【責任編輯】:天氏庫力 版權所有:http://www.jy3b.com/轉載請注明出處